Продажа ЖБИ в Москве и Московской области
+7 (495) 118-92-43
Ежедневно: 8:00 - 21:00
0 0

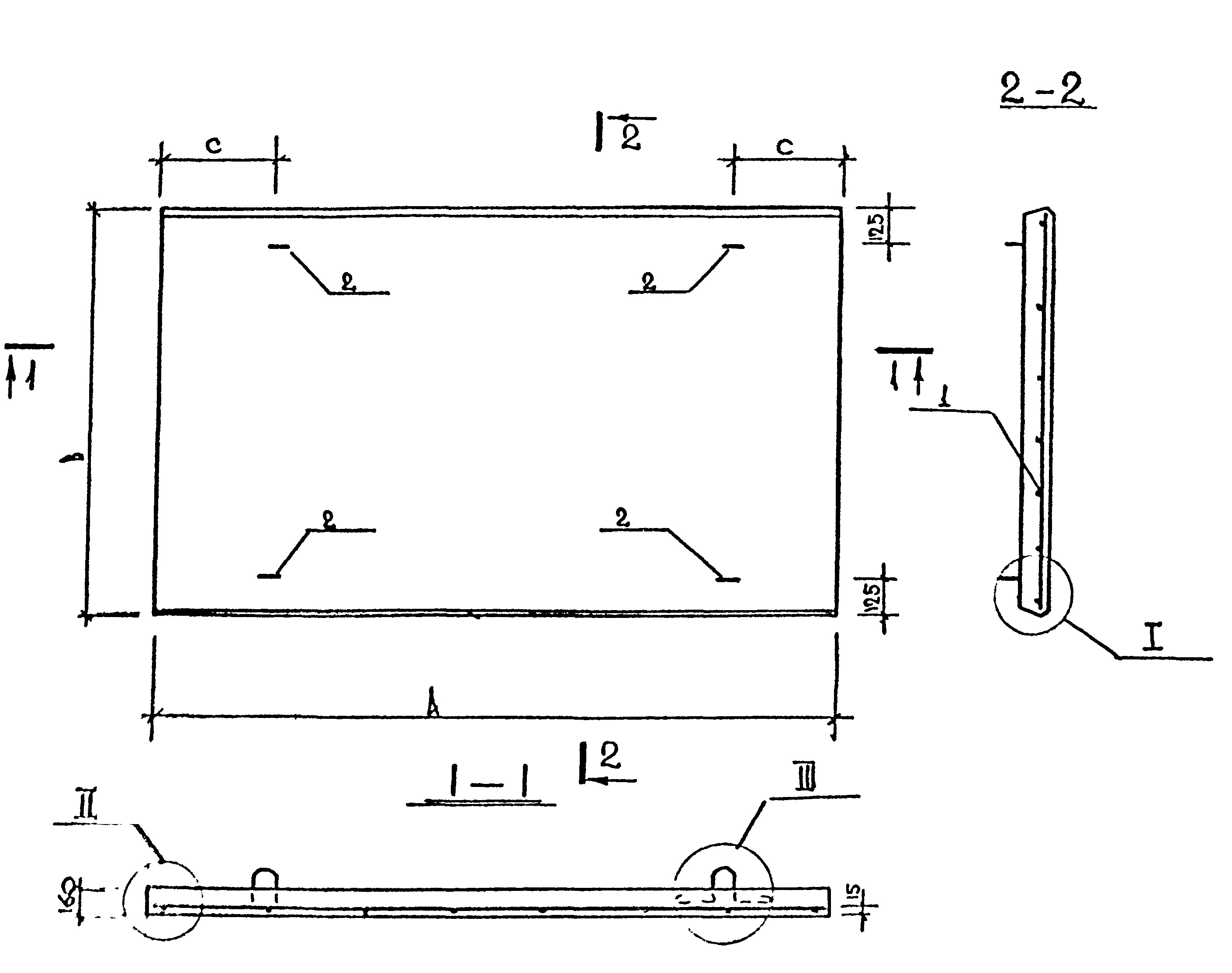
Плита перекрытия П 18-15-12-8 т

Yandex.Market
  • В наличии 183 шт
    В среднем на нашем предприятии производится от 100 до 500 ЖБИ изделий в день.
  • Контроль качества на каждом этапе
    Строгое соблюдение пропорций ЖБИ изделий на предприятии является для нас очень важным аспектом.
  • Производство от 1 дня
Цена за:
2185 ₽

Плита перекрытия П 18-15-12-8 т - это сплошная железобетонная конструкция, предназначенная для создания перекрытий в зданиях. Имеет размеры 1800x1500x120 мм и вес 8 тонн. Плита обладает высокой прочностью и устойчивостью к нагрузкам, что делает ее идеальным выбором для строительства различных объектов.

Плита перекрытия П 18-15-12-8 т применяется в строительстве жилых, коммерческих и промышленных зданий. Она используется для создания перекрытий между этажами, обеспечивая надежную поддержку и защиту от воздействия внешних факторов. Плиты перекрытия также могут использоваться в строительстве мостов, тоннелей и других инфраструктурных объектов, где требуется высокая прочность и долговечность конструкции.

Объём, м3 0.32
Масса, т 0.8
ГОСТ Серия 1.243.1
Стандарт ГОСТ
Маркировка П 18-15-12-8 т
Категория Панели перекрытия сплошные
Единица измерения шт.
Ширина, мм 1490
Высота, мм 120
Длина, мм 1790
Максимальная норма загрузки 20
Масса, кг 800
Способ доставки MAX длина груза, м Стоимость доставки
Машина - до 1,5 тн до 18 м3 4 от 2 200 ₽
Машина - до 2,5 тн до 32 м3 6 от 3 000 ₽
Машина - до 5 тн до 35 м3 6 от 4 000 ₽
Машина - до 10 тн до 37 м3 8 от 6 000 ₽
Машина - до 20 тн до 80 м3 13,5 от 10 500 ₽
Манипулятор до 5 тн 6 от 7 000 ₽
Манипулятор до 10 тн 8 от 13 000 ₽
Манипулятор до 20 тн 14 от 16 000 ₽
Наименование Характеристики Цена
Плита перекрытия П 60-10-6 АIV

Маркировка : П 60-10-6 АIV

Длина, мм : 5980

Ширина, мм : 990

Высота, мм : 220

8 740
Плита перекрытия П 62-12-8 АIVт с-8

Маркировка : П 62-12-8 АIVт с-8

Длина, мм : 6160

Ширина, мм : 1190

Высота, мм : 220

10 860
Плита перекрытия П 59-12-6 АIVт с-8

Маркировка : П 59-12-6 АIVт с-8

Длина, мм : 5860

Ширина, мм : 1190

Высота, мм : 220

10 315
Плита перекрытия П 59-12-8 АIVт с-8

Маркировка : П 59-12-8 АIVт с-8

Длина, мм : 5860

Ширина, мм : 1190

Высота, мм : 220

10 315
Плита перекрытия П 59-12-8 АIVт с-9

Маркировка : П 59-12-8 АIVт с-9

Длина, мм : 5860

Ширина, мм : 1190

Высота, мм : 220

10 315
Плита перекрытия П 59-15-10 АIVт с-9

Маркировка : П 59-15-10 АIVт с-9

Длина, мм : 5860

Ширина, мм : 1490

Высота, мм : 220

12 970
Плита перекрытия П 59-15-6 АIVт с-7

Маркировка : П 59-15-6 АIVт с-7

Длина, мм : 5860

Ширина, мм : 1490

Высота, мм : 220

12 970
Плита перекрытия П 59-15-10 АIVт с-8

Маркировка : П 59-15-10 АIVт с-8

Длина, мм : 5860

Ширина, мм : 1490

Высота, мм : 220

12 970
Плита перекрытия П 59-15-6 АIVт с-9

Маркировка : П 59-15-6 АIVт с-9

Длина, мм : 5860

Ширина, мм : 1490

Высота, мм : 220

12 970
Плита перекрытия П 59-15-8 АIVт с-8

Маркировка : П 59-15-8 АIVт с-8

Длина, мм : 5860

Ширина, мм : 1490

Высота, мм : 220

12 970
Плита перекрытия П 60-12-6 АIV

Маркировка : П 60-12-6 АIV

Длина, мм : 5980

Ширина, мм : 1190

Высота, мм : 220

9 220
Плита перекрытия П 60-15-10 АIV

Маркировка : П 60-15-10 АIV

Длина, мм : 5980

Ширина, мм : 1490

Высота, мм : 220

13 180
Плита перекрытия П 60-10-8 АIV

Маркировка : П 60-10-8 АIV

Длина, мм : 5980

Ширина, мм : 990

Высота, мм : 220

8 740
Плита перекрытия П 60-10-8 АIV ТУ

Маркировка : П 60-10-8 АIV

Длина, мм : 5980

Ширина, мм : 990

Высота, мм : 220

6 555
Плита перекрытия П 60-15-8 АIV

Маркировка : П 60-15-8 АIV

Длина, мм : 5980

Ширина, мм : 1490

Высота, мм : 220

13 180
Плита перекрытия П 21-12-12-8 т

Маркировка : П 21-12-12-8 т

Длина, мм : 2090

Ширина, мм : 1190

Высота, мм : 120

2 050
Плита перекрытия П 21-12-12-8 т ТУ

Маркировка : П 21-12-12-8 т

Длина, мм : 2090

Ширина, мм : 1190

Высота, мм : 120

1 535
Плита перекрытия П 24-12-12-8 т

Маркировка : П 24-12-12-8 т

Длина, мм : 2390

Ширина, мм : 1190

Высота, мм : 120

2 325
Плита перекрытия П 24-12-12-8 т ТУ

Маркировка : П 24-12-12-8 т

Длина, мм : 2390

Ширина, мм : 1190

Высота, мм : 120

1 735
Плита перекрытия П 60-12-8 АIV

Маркировка : П 60-12-8 АIV

Длина, мм : 5980

Ширина, мм : 1190

Высота, мм : 220

9 220
Плита перекрытия П 63-12-6 АIV

Маркировка : П 63-12-6 АIV

Длина, мм : 6280

Ширина, мм : 1190

Высота, мм : 220

11 060
Плита перекрытия П 18-12-12-8 т

Маркировка : П 18-12-12-8 т

Длина, мм : 1790

Ширина, мм : 1190

Высота, мм : 120

1 705
Плита перекрытия П 33-12-16-8 т

Маркировка : П 33-12-16-8 т

Длина, мм : 3290

Ширина, мм : 1190

Высота, мм : 160

4 295
Плита перекрытия П 30-15-16-8 т

Маркировка : П 30-15-16-8 т

Длина, мм : 2990

Ширина, мм : 1490

Высота, мм : 160

4 845
Плита перекрытия П 60-12-22-5 АIV

Маркировка : П 60-12-22-5 АIV

Длина, мм : 5980

Ширина, мм : 1190

Высота, мм : 220

9 360
Плита перекрытия П 60-12-22-5 АIV ТУ

Маркировка : П 60-12-22-5 АIV

Длина, мм : 5980

Ширина, мм : 1190

Высота, мм : 220

7 015
Плита перекрытия П 60-12-22-8 АIV

Маркировка : П 60-12-22-8 АIV

Длина, мм : 5980

Ширина, мм : 1190

Высота, мм : 220

9 360
Плита перекрытия П 60-12-22-8 АIV ТУ

Маркировка : П 60-12-22-8 АIV

Длина, мм : 5980

Ширина, мм : 1190

Высота, мм : 220

7 015
Плита перекрытия П 59-10-10 АIV с-8

Маркировка : П 59-10-10 АIV с-8

Длина, мм : 5860

Ширина, мм : 990

Высота, мм : 220

8 600
Плита перекрытия П 59-10-6 АIV с-8

Маркировка : П 59-10-6 АIV с-8

Длина, мм : 5860

Ширина, мм : 990

Высота, мм : 220

8 600
Плита перекрытия П 59-10-6 АIV с-7

Маркировка : П 59-10-6 АIV с-7

Длина, мм : 5860

Ширина, мм : 990

Высота, мм : 220

8 600
Плита перекрытия П 59-10-8 АIV с-9

Маркировка : П 59-10-8 АIV с-9

Длина, мм : 5860

Ширина, мм : 990

Высота, мм : 220

8 600
Плита перекрытия П 59-12-10 АIVт с-8

Маркировка : П 59-12-10 АIVт с-8

Длина, мм : 5860

Ширина, мм : 1190

Высота, мм : 220

10 315
Плита перекрытия П 59-12-10 АIVт с-7

Маркировка : П 59-12-10 АIVт с-7

Длина, мм : 5860

Ширина, мм : 1190

Высота, мм : 220

10 315
Плита перекрытия П 62-10-8 АIVт с-9

Маркировка : П 62-10-8 АIVт с-9

Длина, мм : 6160

Ширина, мм : 990

Высота, мм : 220

9 010
Плита перекрытия П 62-12-6 АIVт с-8

Маркировка : П 62-12-6 АIVт с-8

Длина, мм : 6160

Ширина, мм : 1190

Высота, мм : 220

10 860
Плита перекрытия П 62-15-10 АIVт с-8

Маркировка : П 62-15-10 АIVт с-8

Длина, мм : 6160

Ширина, мм : 1490

Высота, мм : 220

13 590
Плита перекрытия П 62-15-6 АIVт с-9

Маркировка : П 62-15-6 АIVт с-9

Длина, мм : 6160

Ширина, мм : 1490

Высота, мм : 220

13 590
Плита перекрытия П 36-15-16-8 т

Маркировка : П 36-15-16-8 т

Длина, мм : 3590

Ширина, мм : 1490

Высота, мм : 160

5 800
Плита перекрытия П 39-15-16-6 т

Маркировка : П 39-15-16-6 т

Длина, мм : 3890

Ширина, мм : 1490

Высота, мм : 160

6 280
Плита перекрытия П 63-12-22-8 АтV

Маркировка : П 63-12-22-8 АтV

Длина, мм : 6260

Ширина, мм : 1190

Высота, мм : 220

9 830
Плита перекрытия П 59-10-10 АIV с-9

Маркировка : П 59-10-10 АIV с-9

Длина, мм : 5860

Ширина, мм : 990

Высота, мм : 220

8 600
Никита Ильин
20.01.2025
Доставили вовремя, блоки ровные, без сколов. Монтаж прошёл без нареканий, ребята на участке хвалят.
Александр Шубин
20.01.2025
Тут нашлись все необходимые размеры, что очень упростило жизнь. Ребята выручили по срокам, задержек не было. Качество, в принципе, неплохое: арматура норм, плиты без трещин
Даниил Макаров
09.01.2025
У нас был крупный заказ на спортивный объект, требовались балки повышенной несущей способности. Здесь без проблем подобрали нужный класс бетона. Вопреки страхам, удалось уложиться в бюджет.
Данила Жданов
14.01.2025
Строим крупную автостоянку, требовались дорожные плиты с высоким запасом прочности. Тут нашли нужную марку, цена устроила. Доставили оперативно, разгрузка без проблем. Плиты ровные, стыкуются плотно, так что надеюсь прослужат долго
Гарантия качества
Заменим дефектный материал или вернём деньги
Условия возврата
Доставка и самовывоз
Вы можете заказать доставку по МСК и МО или оформить самовывоз с нашего склада в Москве
Условия доставки и самовывоза
Оптово и розничная продажа
Мы продаём товары как в розницу, так и оптом. В зависимости от объёмов заказа мы предоставляем клиентам персональные скидки

Выберите удобный способ оплаты

Оплата банковской картой
Наличными на объекте
Безналичный расчёт

Адреса

Режим работы складов: 8:00 - 21:00
Офис:
Москва, Акуловская улица, 2А
График работы офиса:
Ежедневно: 8:00 - 21:00
Номер телефона контактного центра:
+7 (495) 118-92-43
Почта для связи:
stroym@zbi-500.ru