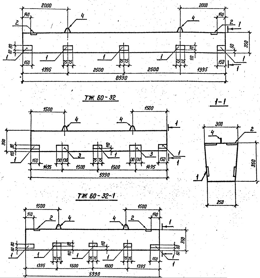
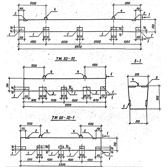
Траверсы подстанций ТЖ 60-32 представляют собой железобетонные конструкции, предназначенные для использования в электроэнергетике. Изготавливаются из высококачественного железобетона, что обеспечивает прочность и долговечность конструкции. Траверсы имеют специальные отверстия и крепежные элементы для установки на опоры и поддержание электрических проводов.
Траверсы подстанций ТЖ 60-32 широко используются в электроэнергетике для поддержания и защиты электрических проводов на подстанциях. Они обеспечивают надежную фиксацию проводов и предотвращают их провисание или повреждение. Траверсы также могут использоваться для создания различных конструкций в энергетических сетях, обеспечивая безопасность и надежность работы системы.
